Fitting Instructions Vertical Blinds

blind size - follow face fix instructions. recess size - follow top fix instructions
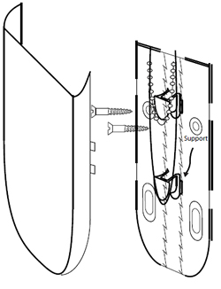
Each blind will be supplied with at least two brackets. Fit these brackets to the wall face approximately 5cm in from the ends of the blind. The head rail just screws in place.
Top FixEach blind will be supplied with at least two brackets. Fit these brackets to the lintel approximately 5cm in from the ends of the blind. The head rail just clips in place.


The slats will not rotate if they are fitted in the closed position ( i.e. flat )



































































